SE450: Horstmann Chapter 9
Cay S. Horstmann
Chapter 9
Multithreading
- Thread Basics
- Thread Synchronization
- Animations
- Thread: program unit that is executed independently
- Multiple threads run simultaneously
- Virtual machine executes each thread for short time slice
- Thread scheduler activates, deactivates threads
- Illusion of threads running in parallel
- Multiprocessor computers: threads actually run in parallel
- Define class that implements Runnable
- Runnable has one method
void run()
- Place thread action into run method
- Construct object of runnable class
- Construct thread from that object
- Start thread
public class MyRunnable implements Runnable
{
public void run()
{
thread action
}
}
...
Runnable r = new MyRunnable();
Thread t = new Thread(t);
t.start();
|
01
02
03
04
05
06
07
08
09
10
11
12
13
14
15
16
17
18
19
20
21
22
23
24
25
26
27
28
29
30
31
32
33
34
35
|
package horstmann.ch09_greeting;
/**
An action that repeatedly prints a greeting.
*/
public class GreetingProducer implements Runnable
{
/**
Constructs the producer object.
@param aGreeting the greeting to display
*/
public GreetingProducer(String aGreeting)
{
greeting = aGreeting;
}
public void run()
{
try
{
for (int i = 1; i <= REPETITIONS; i++)
{
System.out.println(i + ": " + greeting);
Thread.sleep(DELAY);
}
}
catch (InterruptedException exception)
{
}
}
private String greeting;
private static final int REPETITIONS = 10;
private static final int DELAY = 100;
}
|
|
|
|
01
02
03
04
05
06
07
08
09
10
11
12
13
14
15
16
17
18
19
|
package horstmann.ch09_greeting;
/**
This program runs two threads in parallel.
*/
public class ThreadTester
{
public static void main(String[] args)
{
Runnable r1 = new GreetingProducer("Hello, World!");
Runnable r2 = new GreetingProducer("Goodbye, World!");
Thread t1 = new Thread(r1);
Thread t2 = new Thread(r2);
t1.start();
t2.start();
}
}
|
|
|

- Note: output not exactly interleaved
1: Hello, World!
1: Goodbye, World!
2: Hello, World!
2: Goodbye, World!
3: Hello, World!
3: Goodbye, World!
4: Hello, World!
4: Goodbye, World!
5: Hello, World!
5: Goodbye, World!
6: Hello, World!
6: Goodbye, World!
7: Hello, World!
7: Goodbye, World!
8: Goodbye, World!
8: Hello, World!
9: Goodbye, World!
9: Hello, World!
10: Goodbye, World!
10: Hello, World!

- Each thread has
- Thread states:
- new (before start called)
- dead (after run method exits)

- Reasons for blocked state:
- Waiting to acquire lock (later)
- Waiting for condition (later)
- Unblocks only if reason for block goes away
- Scheduler activates new thread if
- a thread has completed its time slice
- a thread has blocked itself
- a thread with higher priority has become runnable
- Scheduler determines new thread to run
- looks only at runnable threads
- picks one with max priority
- Thread terminates when run exits
- Sometimes necessary to terminate running thread
- Don't use deprecated stop method
- Interrupt thread by calling interrupt
- Calling t.interrupt() doesn't actually interrupt t;
just sets a flag
- Interrupted thread must sense interruption and exit its run
method
- Interrupted thread has chance to clean up
- Thread could occasionally call
Thread.currentThread().isInterrupted()
- sleep, wait throw InterruptedException
when thread interrupted
- . . . and then the interruption status is cleared!
- More robust: Sleep occasionally, catch exception and react to
interruption
- Recommendation: Terminate run when sensing interruption
public class MyRunnable implements Runnable
{
public void run()
{
try
{
while (...)
{
do work
Thread.sleep(...);
}
}
catch (InterruptedException e) {}
clean up
}
}
- Use bounded queue from chapter 3
- Each producer thread inserts greetings
- Each consumer thread removes greetings
- Two producers, one consumer
int i = 1;
while (i <= greetingCount)
{
if (!queue.isFull())
{
queue.add(i + ": " + greeting);
i++;
}
Thread.sleep((int)(Math.random() * DELAY));
}
int i = 1;
while (i <= greetingCount)
{
if (!queue.isEmpty())
{
Object greeting = queue.remove();
System.out.println(greeting);
i++;
}
Thread.sleep((int)(Math.random() * DELAY));
}
1: Hello, World!
1: Goodbye, World!
2: Hello, World!
3: Hello, World!
...
99: Goodbye, World!
100: Goodbye, World!
- Sometimes program gets stuck and doesn't complete
- Can see problem better when turning debugging on
queue.setDebug(true);
|
01
02
03
04
05
06
07
08
09
10
11
12
13
14
15
16
17
18
19
20
21
22
23
24
25
26
27
|
package horstmann.ch09_queue1;
/**
This program runs two threads in parallel.
*/
public class ThreadTester
{
public static void main(String[] args)
{
BoundedQueue<String> queue = new BoundedQueue<String>(10);
queue.setDebug(true);
final int GREETING_COUNT = 100;
Runnable run1 = new Producer("Hello, World!",
queue, GREETING_COUNT);
Runnable run2 = new Producer("Goodbye, World!",
queue, GREETING_COUNT);
Runnable run3 = new Consumer(queue, 2 * GREETING_COUNT);
Thread thread1 = new Thread(run1);
Thread thread2 = new Thread(run2);
Thread thread3 = new Thread(run3);
thread1.start();
thread2.start();
thread3.start();
}
}
|
|
|
|
01
02
03
04
05
06
07
08
09
10
11
12
13
14
15
16
17
18
19
20
21
22
23
24
25
26
27
28
29
30
31
32
33
34
35
36
37
38
39
40
41
42
43
44
45
|
package horstmann.ch09_queue1;
/**
An action that repeatedly inserts a greeting into a queue.
*/
public class Producer implements Runnable
{
/**
Constructs the producer object.
@param aGreeting the greating to insert into a queue
@param aQueue the queue into which to insert greetings
@param count the number of greetings to produce
*/
public Producer(String aGreeting, BoundedQueue<String> aQueue, int count)
{
greeting = aGreeting;
queue = aQueue;
greetingCount = count;
}
public void run()
{
try
{
int i = 1;
while (i <= greetingCount)
{
if (!queue.isFull())
{
queue.add(i + ": " + greeting);
i++;
}
Thread.sleep((int) (Math.random() * DELAY));
}
}
catch (InterruptedException exception)
{
}
}
private String greeting;
private BoundedQueue<String> queue;
private int greetingCount;
private static final int DELAY = 10;
}
|
|
|
|
01
02
03
04
05
06
07
08
09
10
11
12
13
14
15
16
17
18
19
20
21
22
23
24
25
26
27
28
29
30
31
32
33
34
35
36
37
38
39
40
41
42
43
|
package horstmann.ch09_queue1;
/**
An action that repeatedly removes a greeting from a queue.
*/
public class Consumer implements Runnable
{
/**
Constructs the consumer object.
@param aQueue the queue from which to retrieve greetings
@param count the number of greetings to consume
*/
public Consumer(BoundedQueue<String> aQueue, int count)
{
queue = aQueue;
greetingCount = count;
}
public void run()
{
try
{
int i = 1;
while (i <= greetingCount)
{
if (!queue.isEmpty())
{
String greeting = queue.remove();
System.out.println(greeting);
i++;
}
Thread.sleep((int)(Math.random() * DELAY));
}
}
catch (InterruptedException exception)
{
}
}
private BoundedQueue<String> queue;
private int greetingCount;
private static final int DELAY = 10;
}
|
|
|
|
01
02
03
04
05
06
07
08
09
10
11
12
13
14
15
16
17
18
19
20
21
22
23
24
25
26
27
28
29
30
31
32
33
34
35
36
37
38
39
40
41
42
43
44
45
46
47
48
49
50
51
52
53
54
55
56
57
58
59
60
61
62
63
64
65
66
67
68
69
70
71
72
73
74
75
76
77
78
79
80
81
82
83
84
85
86
87
|
package horstmann.ch09_queue1;
import java.util.ArrayList;
/**
A first-in, first-out bounded collection of objects.
*/
public class BoundedQueue<E>
{
/**
Constructs an empty queue.
@param capacity the maximum capacity of the queue
*/
public BoundedQueue(int capacity)
{
elements = new ArrayList<E>(capacity);
head = 0;
tail = 0;
size = 0;
}
/**
Removes the object at the head.
@return the object that has been removed from the queue
<p><b>Precondition:</b> !isEmpty()</p>
*/
public E remove()
{
if (debug) System.out.print("removeFirst");
E r = elements.get(head);
if (debug) System.out.print(".");
head++;
if (debug) System.out.print(".");
size--;
if (head == elements.size())
{
if (debug) System.out.print(".");
head = 0;
}
if (debug)
System.out.println("head=" + head + ",tail=" + tail
+ ",size=" + size);
return r;
}
/**
Appends an object at the tail.
@param newValue the object to be appended
<p><b>Precondition:</b> !isFull();</p>
*/
public void add(E newValue)
{
if (debug) System.out.print("add");
elements.set(tail,newValue);
if (debug) System.out.print(".");
tail++;
if (debug) System.out.print(".");
size++;
if (tail == elements.size())
{
if (debug) System.out.print(".");
tail = 0;
}
if (debug)
System.out.println("head=" + head + ",tail=" + tail
+ ",size=" + size);
}
public boolean isFull()
{
return size == elements.size();
}
public boolean isEmpty()
{
return size == 0;
}
public void setDebug(boolean newValue)
{
debug = newValue;
}
private ArrayList<E> elements;
private int head;
private int tail;
private int size;
private boolean debug;
}
|
|
|
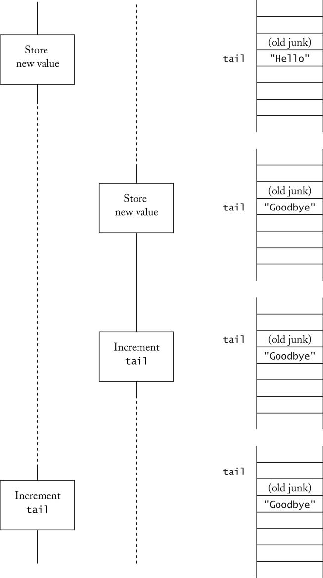
- First thread calls add and executes
elements[tail] = anObject;
- First thread at end of time slice
- Second thread calls add and executes
elements[tail] = anObject;
tail++;
- Second thread at end of time slice
- First thread executes
tail++;

- Thread can acquire lock
- When another thread tries to acquire same lock, it blocks
- When first thread releases lock, other thread is
unblocked and tries again
- Two kinds of locks
- Objects of class implementing java.util.concurrent.Lock
interface type, usually ReentrantLock
- Locks that are built into every Java object
aLock = new ReentrantLock();
. . .
aLock.lock();
try
{
protected code
}
finally
{
aLock.unlock();
}
- First thread calls add and acquires lock, then executes
elements[tail] = anObject;
- Second thread calls add and tries to acquire lock, but
it is blocked
- First thread executes
tail++;
- First thread completes add, releases lock
- Second thread unblocked
- Second thread acquires lock, starts executing protected code
- Use condiiton object to manage "space available" condition
private Lock queueLock = new ReentrantLock();
private Condition spaceAvailableCondition
= queueLock.newCondition();
- Call await when condition is not fulfilled:
public void add(E newValue)
{
. . .
while (size == elements.length)
spaceAvailableCondition.await();
. . .
}
|
01
02
03
04
05
06
07
08
09
10
11
12
13
14
15
16
17
18
19
20
21
22
23
24
25
26
27
28
29
30
31
32
33
34
35
36
37
38
39
40
41
42
43
44
45
46
47
48
49
50
51
52
53
54
55
56
57
58
59
60
61
62
63
64
65
66
67
68
69
70
71
72
73
74
75
76
77
78
79
80
81
82
83
|
package horstmann.ch09_queue2;
import java.util.ArrayList;
import java.util.concurrent.locks.Condition;
import java.util.concurrent.locks.Lock;
import java.util.concurrent.locks.ReentrantLock;
/**
A first-in, first-out bounded collection of objects.
*/
public class BoundedQueue<E>
{
/**
Constructs an empty queue.
@param capacity the maximum capacity of the queue
*/
public BoundedQueue(int capacity)
{
elements = new ArrayList<E>(capacity);
head = 0;
tail = 0;
size = 0;
}
/**
Removes the object at the head.
@return the object that has been removed from the queue
*/
public E remove() throws InterruptedException
{
queueLock.lock();
try
{
while (size == 0)
valueAvailableCondition.await();
E r = elements.get(head);
head++;
size--;
if (head == elements.size())
head = 0;
spaceAvailableCondition.signalAll();
return r;
}
finally
{
queueLock.unlock();
}
}
/**
Appends an object at the tail.
@param newValue the object to be appended
*/
public void add(E newValue) throws InterruptedException
{
queueLock.lock();
try
{
while (size == elements.size())
spaceAvailableCondition.await();
elements.set(tail,newValue);
tail++;
size++;
if (tail == elements.size())
tail = 0;
valueAvailableCondition.signalAll();
}
finally
{
queueLock.unlock();
}
}
private ArrayList<E> elements;
private int head;
private int tail;
private int size;
private Lock queueLock = new ReentrantLock();
private Condition spaceAvailableCondition
= queueLock.newCondition();
private Condition valueAvailableCondition
= queueLock.newCondition();
}
|
|
|
|
01
02
03
04
05
06
07
08
09
10
11
12
13
14
15
16
17
18
19
20
21
22
23
24
25
26
27
28
29
30
31
32
33
34
35
36
37
38
39
40
41
42
43
44
45
46
47
48
49
50
51
52
53
54
55
56
57
|
package horstmann.ch09_queue3;
import java.util.ArrayList;
/**
A first-in, first-out bounded collection of objects.
*/
public class BoundedQueue<E>
{
/**
Constructs an empty queue.
@param capacity the maximum capacity of the queue
*/
public BoundedQueue(int capacity)
{
elements = new ArrayList<E>(capacity);
head = 0;
tail = 0;
size = 0;
}
/**
Removes the object at the head.
@return the object that has been removed from the queue
*/
public synchronized E remove()
throws InterruptedException
{
while (size == 0) wait();
E r = elements.get(head);
head++;
size--;
if (head == elements.size())
head = 0;
notifyAll();
return r;
}
/**
Appends an object at the tail.
@param newValue the object to be appended
*/
public synchronized void add(E newValue)
throws InterruptedException
{
while (size == elements.size()) wait();
elements.set(tail,newValue);
tail++;
size++;
if (tail == elements.size())
tail = 0;
notifyAll();
}
private ArrayList<E> elements;
private int head;
private int tail;
private int size;
}
|
|
|
- Object = phone booth
- Thread = person
- Locked object = closed booth
- Blocked thread = person waiting for booth to open

- Use thread to make progress in algorithm
- Display algorithm state
- Example: Animate the Sorter below
- Sleeps inside compare method
- Pass custom comparator
Comparator<Double> comp = new
Comparator<Double>()
{
public void compare(Double d1, Double d2)
{
sleep
return
comparison result
}
};
|
01
02
03
04
05
06
07
08
09
10
11
12
13
14
15
16
17
18
19
20
21
22
23
24
25
26
27
28
29
30
31
32
33
34
35
36
37
38
39
40
41
42
43
|
package horstmann.ch09_animation1;
import java.util.Comparator;
/**
This runnable executes a sort algorithm.
When two elements are compared, the algorithm
pauses and updates a panel.
*/
public class Sorter implements Runnable
{
/**
Constructs the sorter.
@param values the array to sort
@param panel the panel for displaying the array
*/
public Sorter(Double[] values, ArrayComponent panel)
{
this.values = values;
this.panel = panel;
}
public void run()
{
Comparator<Double> comp = (d1, d2) -> {
panel.setValues(values, d1, d2);
try
{
Thread.sleep(DELAY);
}
catch (InterruptedException exception)
{
Thread.currentThread().interrupt();
}
return (d1).compareTo(d2);
};
MergeSorter.sort(values, comp);
panel.setValues(values, null, null);
}
private Double[] values;
private ArrayComponent panel;
private static final int DELAY = 100;
}
|
|
|

|
01
02
03
04
05
06
07
08
09
10
11
12
13
14
15
16
17
18
19
20
21
22
23
24
25
26
27
28
29
30
31
32
33
34
35
36
37
38
39
40
41
42
43
44
45
46
47
48
49
50
|
package horstmann.ch09_animation1;
import java.awt.Graphics;
import java.awt.Graphics2D;
import java.awt.geom.Rectangle2D;
import javax.swing.JComponent;
/**
This component draws an array and marks two elements in the
array.
*/
@SuppressWarnings("serial")
public class ArrayComponent extends JComponent
{
public synchronized void paintComponent(Graphics g)
{
if (values == null) return;
Graphics2D g2 = (Graphics2D) g;
int width = getWidth() / values.length;
for (int i = 0; i < values.length; i++)
{
Double v = values[i];
Rectangle2D bar = new Rectangle2D.Double(
width * i, 0, width, v);
if (v == marked1 || v == marked2)
g2.fill(bar);
else
g2.draw(bar);
}
}
/**
Sets the values to be painted.
@param values the array of values to display
@param marked1 the first marked element
@param marked2 the second marked element
*/
public synchronized void setValues(Double[] values,
Double marked1, Double marked2)
{
this.values = values.clone();
this.marked1 = marked1;
this.marked2 = marked2;
repaint();
}
private Double[] values;
private Double marked1;
private Double marked2;
}
|
|
|
|
01
02
03
04
05
06
07
08
09
10
11
12
13
14
15
16
17
18
19
20
21
22
23
24
25
26
27
28
29
30
31
32
33
34
|
package horstmann.ch09_animation1;
import java.awt.BorderLayout;
import javax.swing.JFrame;
/**
This program animates a sort algorithm.
*/
public class AnimationTester
{
public static void main(String[] args)
{
JFrame frame = new JFrame();
frame.setDefaultCloseOperation(JFrame.EXIT_ON_CLOSE);
ArrayComponent panel = new ArrayComponent();
frame.add(panel, BorderLayout.CENTER);
frame.setSize(FRAME_WIDTH, FRAME_HEIGHT);
frame.setVisible(true);
Double[] values = new Double[VALUES_LENGTH];
for (int i = 0; i < values.length; i++)
values[i] = Math.random() * panel.getHeight();
Runnable r = new Sorter(values, panel);
Thread t = new Thread(r);
t.start();
}
private static final int VALUES_LENGTH = 30;
private static final int FRAME_WIDTH = 300;
private static final int FRAME_HEIGHT = 300;
}
|
|
|
- Want to pause animation until "Run" or "Step" button is clicked
- Need to coordinate UI thread, animation thread
- Try to use built-in thread-safe construct in java.util.concurrent
- Trick: Use a blocking queue
- Button click adds string "Run" or "Step" to queue
- Animation thread calls take on the queue, blocks
if no string inserted
|
01
02
03
04
05
06
07
08
09
10
11
12
13
14
15
16
17
18
19
20
21
22
23
24
25
26
27
28
29
30
31
32
33
34
35
36
37
38
39
40
41
42
43
44
45
46
47
|
package horstmann.ch09_animation2;
import java.util.Comparator;
import java.util.concurrent.BlockingQueue;
/**
This runnable executes a sort algorithm.
When two elements are compared, the algorithm
pauses and updates a panel.
*/
public class Sorter implements Runnable
{
public Sorter(Double[] values, ArrayComponent panel, BlockingQueue<String> queue)
{
this.values = values;
this.panel = panel;
this.queue = queue;
}
public void run()
{
Comparator<Double> comp = (d1, d2) -> {
try
{
String command = queue.take();
if (command.equals("Run"))
{
Thread.sleep(DELAY);
if (!"Step".equals(queue.peek()))
queue.add("Run");
}
}
catch (InterruptedException exception)
{
Thread.currentThread().interrupt();
}
panel.setValues(values, d1, d2);
return d1.compareTo(d2);
};
MergeSorter.sort(values, comp);
panel.setValues(values, null, null);
}
private Double[] values;
private ArrayComponent panel;
private BlockingQueue<String> queue;
private static final int DELAY = 100;
}
|
|
|
|
01
02
03
04
05
06
07
08
09
10
11
12
13
14
15
16
17
18
19
20
21
22
23
24
25
26
27
28
29
30
31
32
33
34
35
36
37
38
39
40
41
42
43
44
45
46
47
48
49
50
51
52
53
54
55
56
57
58
59
|
package horstmann.ch09_animation2;
import java.awt.BorderLayout;
import java.util.concurrent.BlockingQueue;
import java.util.concurrent.LinkedBlockingQueue;
import javax.swing.JButton;
import javax.swing.JFrame;
import javax.swing.JPanel;
/**
This program animates a sort algorithm.
*/
public class AnimationTester
{
public static void main(String[] args)
{
JFrame frame = new JFrame();
frame.setDefaultCloseOperation(JFrame.EXIT_ON_CLOSE);
ArrayComponent panel = new ArrayComponent();
frame.add(panel, BorderLayout.CENTER);
JButton stepButton = new JButton("Step");
final JButton runButton = new JButton("Run");
JPanel buttons = new JPanel();
buttons.add(stepButton);
buttons.add(runButton);
frame.add(buttons, BorderLayout.NORTH);
frame.setSize(FRAME_WIDTH, FRAME_HEIGHT);
frame.setVisible(true);
Double[] values = new Double[VALUES_LENGTH];
for (int i = 0; i < values.length; i++)
values[i] = Math.random() * panel.getHeight();
final BlockingQueue<String> queue = new LinkedBlockingQueue<String>();
queue.add("Step");
final Sorter sorter = new Sorter(values, panel, queue);
stepButton.addActionListener(event -> {
queue.add("Step");
runButton.setEnabled(true);
});
runButton.addActionListener(event -> {
runButton.setEnabled(false);
queue.add("Run");
});
Thread sorterThread = new Thread(sorter);
sorterThread.start();
}
private static final int FRAME_WIDTH = 300;
private static final int FRAME_HEIGHT = 300;
private static final int VALUES_LENGTH = 30;
}
|
|
|
Revised: 2007/09/11 16:41